监控流程

你可以在 流程查询 页面监控运行流程的进度,该页面可显示默认视图以及用户创建的任何自定义视图。你只能查看你有权限发起或查看的流程模型。在 流程查询 页面中,你可以执行多种操作,例如使用筛选器缩小所列流程类型、搜索指定流程 ID,或查看流程详情。


本节描述了如何使用流程查询页面来监控流程。

开始前准备

你必须拥有至少一个流程模型的发起或查看权限。请联系流程所有者开通必要权限。

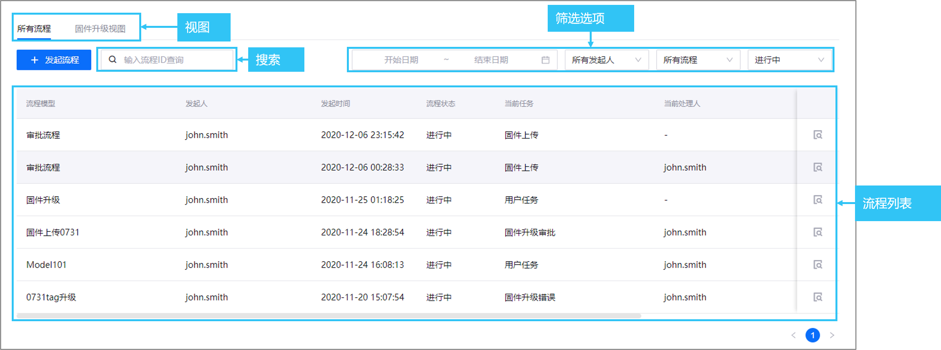
探索默认视图

下图所示为默认视图的组件。


你可以在默认视图下执行以下操作:

  • 在默认视图和其他自定义视图之间切换。

  • 查看所有流程模型的运行流程的列表。在列表中,你也可以复制流程 ID,或打开指定流程的详情页面。

  • 按日期、流程发起人、流程或状态筛选列表。如果指定了多个筛选选项的值,列表将会根据所有指定筛选参数的集合进行筛选。

    备注

    你可以直接在发起人和流程的筛选框中键入,以查找所需的值。

  • 通过流程 ID 搜索流程。

探索自定义视图

下图所示为自定义视图的组件。


你可以在自定义视图下执行以下操作:

  • 在默认视图和其他自定义视图之间切换。

  • 查看某个流程模型的运行流程的列表。在列表中,你也可以复制流程 ID,或打开指定流程的详情页面。

  • 使用流程属性组合筛选列表。如果指定了多个筛选选项的值,列表将会根据所有指定筛选参数的集合进行筛选。

  • 通过流程 ID 搜索流程。

  • 显示或隐藏流程列表中的列。

查看流程详情

  1. 在导航窗格上,选择 流程查询
    此时出现运行流程列表。

  2. 选择你想要查看的视图。

  3. 在想要查看的流程旁边,点击 查看
    此时出现流程详情页面,其中会显示流程属性、状态以及所涉及的任务。


  4. 点击任务名称,可查看任务详情。

  5. 若要查看流程的流程图,则点击 查看流程图
    此时出现一个对话框,显示流程流的图形表示。


  6. 点击画布上的任意位置并拖动,即可查看流程图的不同部分。

相关信息

自定义流程列表